首页
关于均合
公司简介
文化理念
新闻中心
公司新闻
行业资讯
资质荣誉
工程案例
留言反馈
人才招聘
联系我们
菜单
首页
关于均合
公司简介
文化理念
新闻中心
公司新闻
行业资讯
资质荣誉
工程案例
留言反馈
人才招聘
联系我们
公司新闻
行业资讯
公司新闻
行业资讯
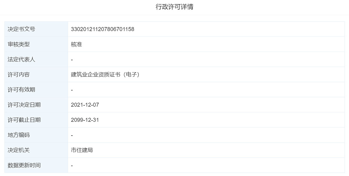
热烈祝贺我司均合建设获得建筑业企业资质证书(电子)
2021-12-07
宁波均合建设工程有限公司于2021年12月07日,经由市住建局许可下发建筑业企业资质证书(电子)
许可文件编号/文书号:330201211207806701158
上一篇:
热烈祝贺我司均合建设获得建筑业企业资质证书(新)
下一篇:
热烈祝贺我司均合建设获得防水防腐保温工程专业承包贰级,消防设施工程专业承包贰级
快速链接
关于均合
新闻中心
工程案例
留言反馈
联系我们
扫一扫,关注我们
联系方式
13486626406
宁波市镇海区锦业街1号东晨大厦8楼803
相关链接:
中国石油化工集团有限公司工程定额管理站
Copyright @ 2023 宁波均合建设工程有限公司 版权所有 编号:
浙ICP备2023012818号
浙公网安备 33021102001147号
服务热线
13486626406
微信客服
返回顶部